2026-01-18 14:55:02瞬航软件园
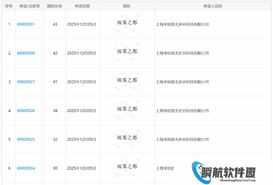
2026年1月15日,有博主发现,米哈游子公司近日密集申请了20多个“雨雾之都”相关商标。普遍认为,这正是该款基于虚幻引擎5(UE5)开发的重量级IP《Varsapura》的正式中文名称。

此前,外界曾一度猜测该作会采用直译的“雨之城”,但现在看来,“雨雾之都”显然更具文学意境和辨识度。
目前,这批商标正处于实质审查阶段。结合之前已经流出的UE5实机演示画面,可以说米哈游对这款新IP的筹备已经进入了冲刺期,接下来要等的就是版号到位,或许今年有望迎来开启首测。
对于米哈游新作定名为《雨雾之都》,你的第一直觉是?你对本作有何期待?评论区聊聊吧。



声明:本文内容及配图由入驻作者撰写或者入驻合作网站授权转载。文章观点仅代表作者本人,不代表本站立场。文章及其配图仅供学习分享之
相关资讯更多
新品榜/热门榜